‘Wissel bestanden uit tussen iPhones en iPads via fysieke bewegingen’
Een door Apple aangevraagd patent suggereert dat we bestanden gaan kopiƫren met fysieke bewegingen. Zo zou je een tekst naar een andere iPhone kunnen gooien of een foto in een liggende iPad gieten. Handig, want er bestaat nog geen goede manier om direct bestanden in iOS te delen met anderen.
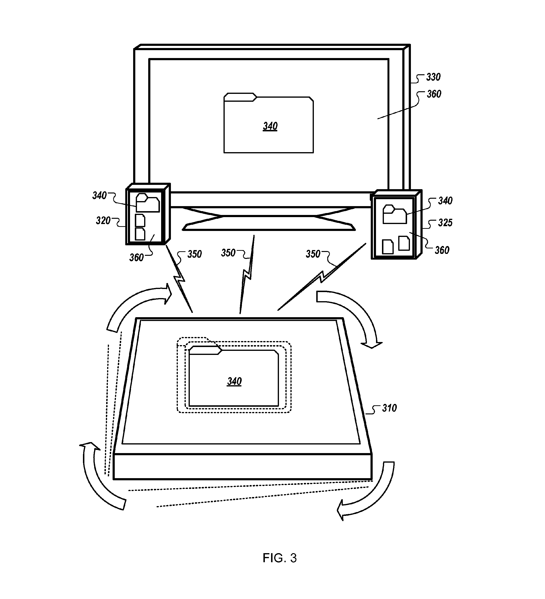
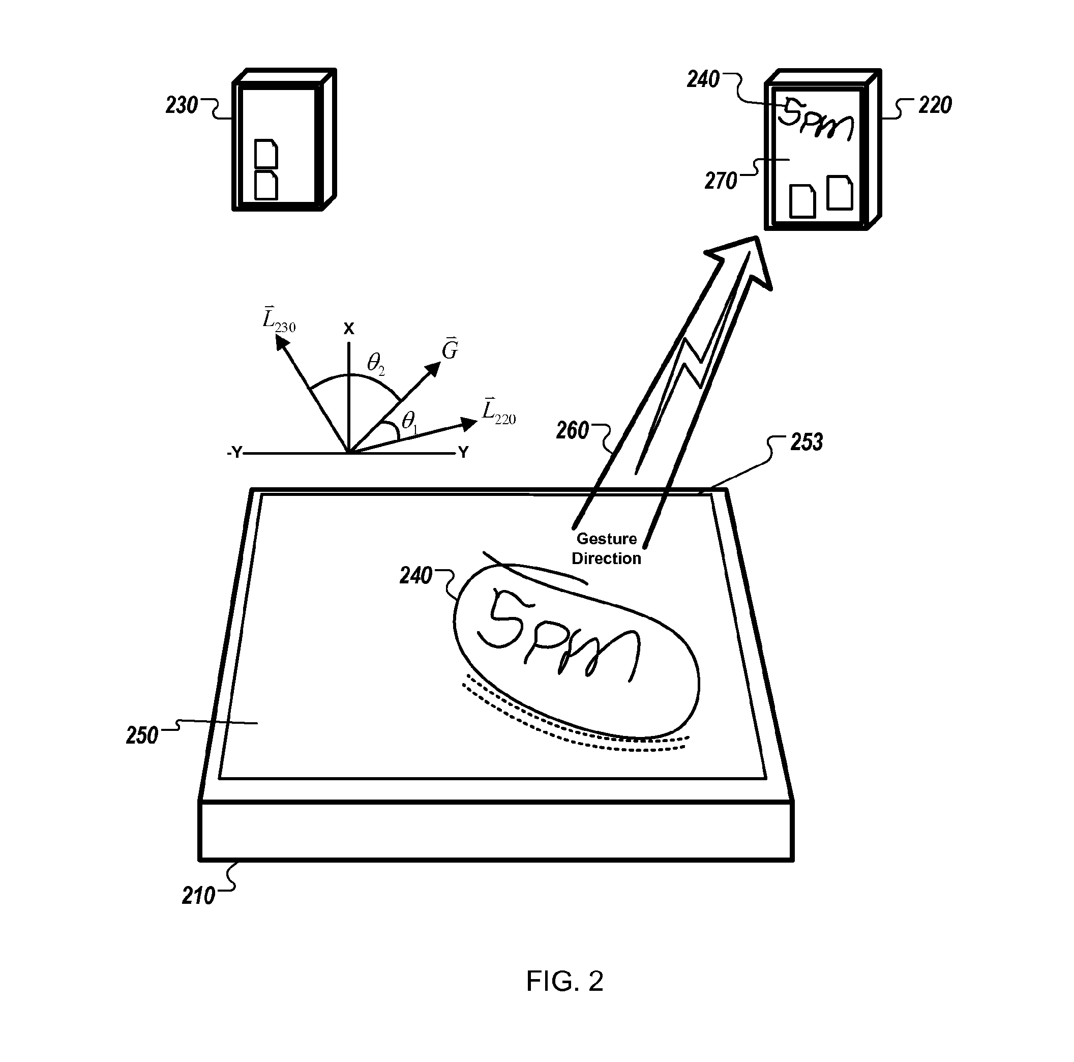
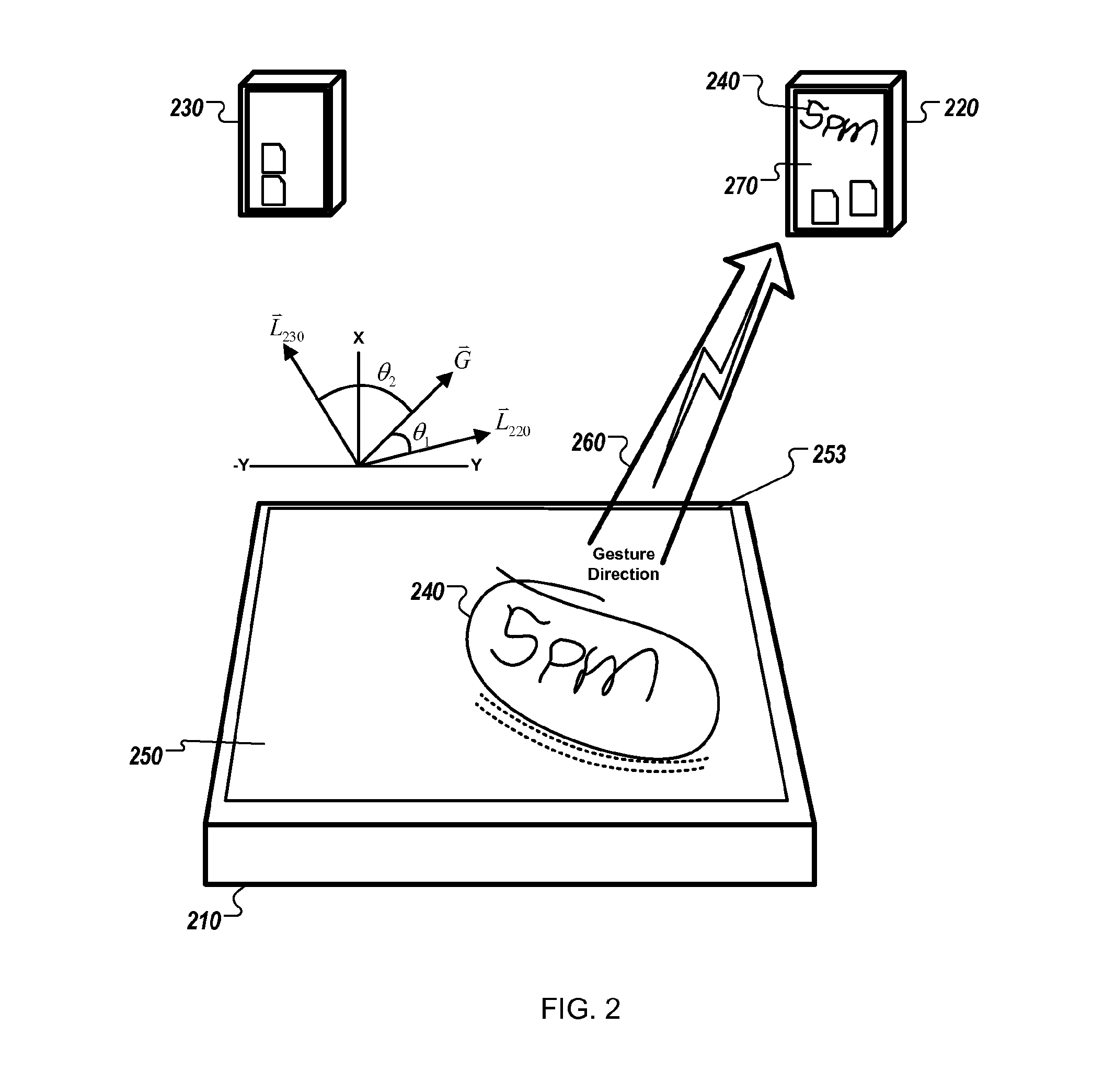
Het patent beschrijft de mogelijkheid om bestanden naar een andere iPhone of iPad te ‘gooien’ met een vingerbeweging op de touchscreen. Het apparaat ziet dan aan de hand van het kompas en gps waar de ander zich bevindt, om zo te voorkomen dat bestanden verkeerd landen. Nog een idee in het patent gaat over het overgieten van bestanden. Je legt de ontvanger plat op tafel, waarna je het versturende toestel er overheen schuin houdt. Hierbij zou je het geluid van bijvoorbeeld lopend water horen. Bij een derde voorbeeld spreekt Apple over het delen met iedereen in dezelfde ruimte door je iPad te roteren, alsof je een frisbee gooit.
Het patent werd aangevraagd in januari 2010, vlak voordat de iPad werd aangekondigd. Het Amerikaanse patentenbureau heeft hem deze week pas geopenbaard. Apple lijkt zich dit jaar een stuk meer bezig te houden met onderlinge bestandsuitwisseling. Via iCloud wordt het mogelijk om tussen je eigen devices bepaalde data te delen en AirDrop, een nieuwe functie in OS X Lion, zorgt ervoor dat we een bestand makkelijk van de ene Mac naar de ander slepen. Een directe manier om bijvoorbeeld een foto op de iPhone van een vriend te zetten is er alleen nog niet.
- Door naar een bepaalde kant te gooien stuur je het bestand naar degene die daar zit.
- Door naar een bepaalde kant te gooien stuur je het bestand naar degene die daar zit.
- Roteer de iPhone of iPad een kwartslag en je deelt bestanden met iedereen.
- Roteer de iPhone of iPad een kwartslag en je deelt bestanden met iedereen.
- Houd een iPhone of iPad boven een liggend apparaat en je giet de bestanden over.
- Houd een iPhone of iPad boven een liggend apparaat en je giet de bestanden over.
Artikelcorrectie, spelfout of -aanvulling doorgeven?
AirDrop
Met AirDrop kun je foto's, bestanden, links en meer uitwisselen tussen Apple-devices. Je kunt bijvoorbeeld een foto AirDroppen naar jezelf of naar een vriend. AirDrop werkt als je bij elkaar in de buurt bent, ook door twee iPhones tegen elkaar te houden. Er is ook een variant op AirDrop genaamd NameDrop, waarmee je contactgegevens kan uitwisselen. Werkt AirDrop niet goed? Dan zijn er verschillende dingen die je kunt proberen. Je kunt ook met AirDrop-spam te maken krijgen en kunt je daartegen wapenen door de juiste instellingen te kiezen.






22 reacties
Lars
Dat idee van een een bestand overgieten is echt super grappig.
Joey
Erg creatief idee!
Dit bedoel ik dus. nu dit idee van apple bekend is, gaan de concurrenten meteen aan de slag om te kunnen evenaren. Voordat Apple weer weg loopt met de winst, zoals wel vaker het geval is.
Theodor!
met http://www.hoccer.com kun je toch ook bestanden overgooien naar een andere iPhone?
David
Idd. BUMP doet dit al.. en niet alleen met iOS, maar ook met android etc..
Al getest en werkt super tussen de verschillende OS’n
fgeer
Kopieerboef Samsung zal dit weer wel overnemen.
hean
Is toch een patent dan word t lastig overnemen!
stefan
Er zijn al genoeg apps die dit al kunnen!!!
hh
Niet helemaal nieuw lijkt me. De app Mover+ (en kleine broer Mover) hebben het voorbeeld.
ryan
lijkt me wel vervelend als je dan een bestand van 100 mb wilt verzenden, moet je hem er de hele tijd boven houden
Marciano
@Joey: Err, ze hebben er patent op, dus vooral doen.
kokkie
Creatief me r**t. Er zijn uiteraard al zat Apps waarmee je ongeveer hetzelfde kan. Apple kijkt goed naar Apps als Bump, Hoccer etc en “kopieerd” het in de volgende firmware’s.
PhotoSkaut
De app PhotoEx werkt al zo. Dan schuif je een foto uit je scherm en schuift binnen op je andere idevice.
WizardTm
Volgens mij niet echt een orgineel idee. Dat kan je met hoccer toch allang , alleen is dit uitgebreider.
Zie de accesoire markt wel goede zaken doen: polsbandjes voor je iphone voor het geval die uit je handen schiet bij het overgooien van je foto’s !
Henk
En als je 2 iPhones face-to-face heel stevig en snel tegen elkaar jast ?
(dan wordt er een klein Nano’tje geboren Ć®Āā¦)
marc
Gaat een hoop ruitjes kosten – lol
Onnozel
Doet me denken aan deze fail
Rogier Colijn
Met dit soort dingen word de computer natuurlijk wel steeds organischer š Alsin, meer deel van je leven, want statisch op knoppen drukken is wat anders dan doen wat je in het echt ook zou doen, met bijv. een foto die je op tafel hebt liggen, je “schuift” hem naar iemand anders toe.
Fokke
@Gonny van der Zwaag: Klopt, ik was bezig met het ontwerpen van een App zoals deze. Bestanden overzetten via schuiven/werpen met behulp van Gps positie en kompas/gyrometer
exmpletree
Net als die glazen tablets en computers in Avatar š
gemezz
typische apple fanboy opmerking! Apple heeft dat idee sowieso al gejat! Heb et al dik vaak gezien in filmpjes, zo ook bij die tafel van microsoft! Zo geweldig is apple tegenwoordig niet meer…
Rick Kerkhof
De tafel van Microsoft is iets heel anders. Voor Apple is dit vooral speciaal omdat iOS standaard geen ondersteuning biedt voor dit soort dingen.
En Apple die weet er meestal wel iets speciaals bij te bedenken. Zo ook bij dat pennetje, dat je overal kan schrijven, niet op ƩƩn bepaald oppervlak.
Gonny van der Zwaag
@David – Maar is het ‘probleem’ niet dat Apple steeds functies aan iOS toevoegt, waardoor apps van derden overbodig worden?